Popis
Materiál
hliníková slitina.
Poznámka
jednotkou pro objednání spojek je 1 pár.
Varianty
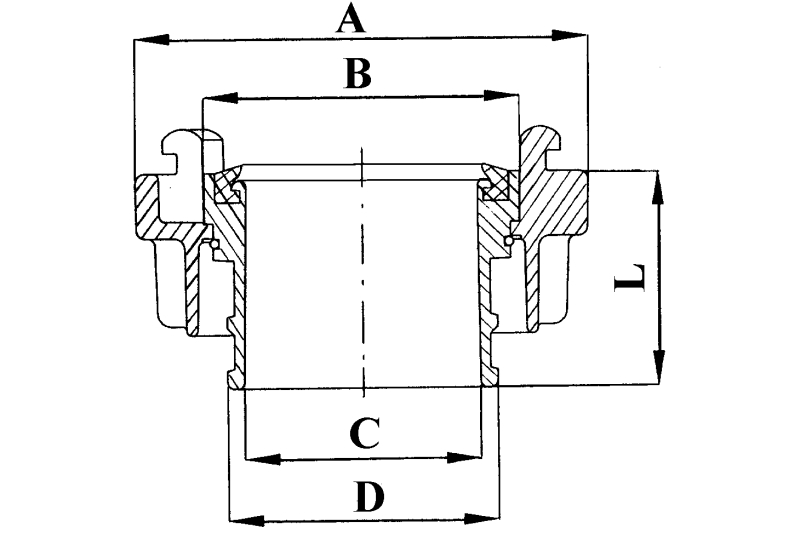
| Objednací číslo | Typ | A
[mm] |
B
[mm] |
C
[mm] |
D
[mm] |
L
[mm] |
Max. prac. tlak
[MPa] |
Hmotnost
[kg/pár] |
| 449 811 1015 | 25 | 54 | 30,5 | 17,5 | 29,5 | 48 | 0,8 | 0,15 |
| 449 000 1024 | 42 | 97 | 45 | 36 | 42 | 55 | 1,6 | 0,20 |
| 449 811 1030 | 52 | 97 | 65 | 44,8 | 51,5 | 52 | 1,6 | 0,50 |
| 449 000 1025 | 65 | 125 | 65 | 57 | 65 | 57 | 1,6 | 0,32 |
| 449 811 1031 | 75 | 125 | 88 | 64,5 | 75,5 | 124 | 1,6 | 0,80 |
| 449 000 1007 | 110 | 182 | 133 | 100 | 110,5 | 103 | 1,6 | 2,55 |





Hotline - opravy, servis