No products in the cart.
587,00 Kč
–
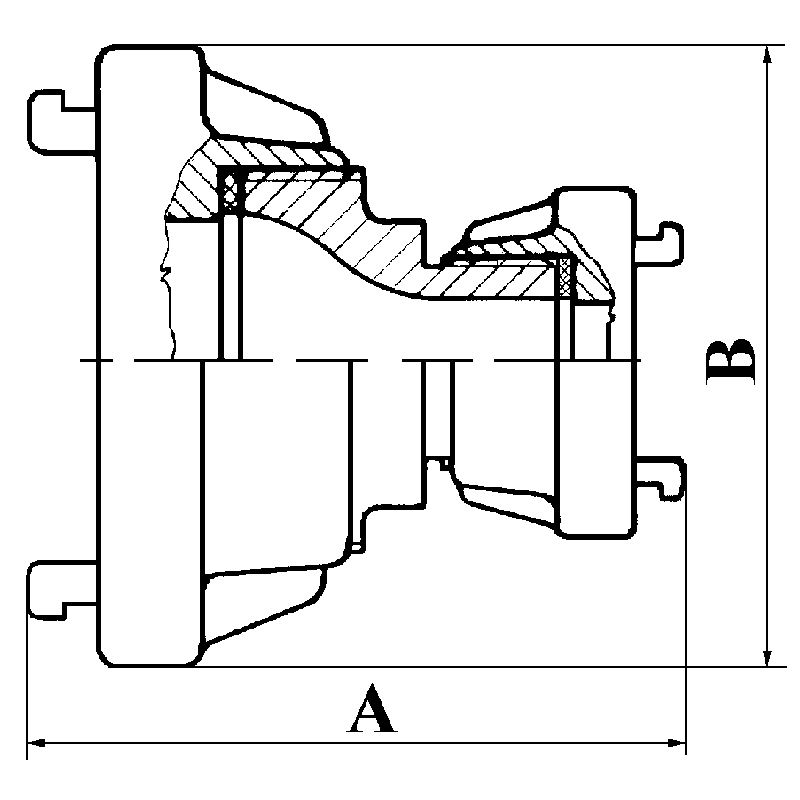
redukční armatura do potrubních a hadicových rozvodů.
hliníková slitina.
Objednací číslo
A
[mm]
B
Max. prac. tlak
[MPa]
Hmotnost
[kg]
Starohradská 316, 572 01 Polička, CZ
+420 461 755 111
tht@tht.cz
Hotline - opravy, servis+420 720 597 502