Popis
Určení
redukční armatura do potrubních a hadicových rozvodů.
Materiál
hliníková slitina.
Varianty
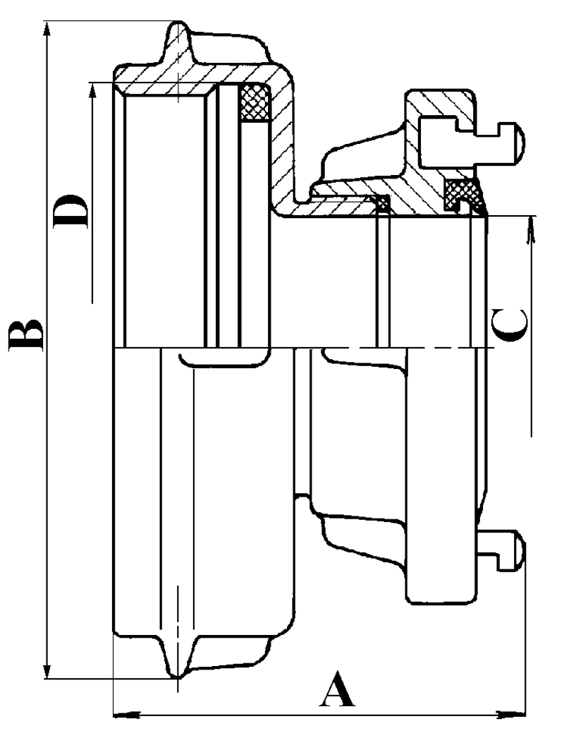
| Objednací číslo | Typ | A
[mm] |
B
[mm] |
C
[mm] |
D
|
Max. prac. tlak
[MPa] |
Hmotnost
[kg] |
| 07790 001 A | 110(Z)/75 | 102 | 160 | 65 | Rd 130 | 0,8 | 1,63 |
| 449 001 0004 | 110(Z)/110 | 130 | 160 | 100 | Rd 130 | 0,8 | 1,85 |





Hotline - opravy, servis